防水套管系列
名称:钢制柔性防水套管
柔性防水套管一般适用于管道穿过墙壁之处受有振动或有严密防水要求的构筑物;刚性防水套管一般适用于管道穿过墙壁之处要求一般防水的构筑物;柔性及刚性防水套管穿墙处之墙壁,如遇非混凝土时应改用混凝土墙壁,而且必须将套管一次凝固于墙内;防水套管施用于建筑、化工、钢铁、自来水、污水处理等单位。
刚性防水套管和柔性防水套管的区别
刚性防水套管是钢管外加翼环(钢板做的环形套在钢管上),装于墙内(多为混凝土墙),用于一般管道穿墙,利于墙体的防水;
柔性防水套管除了外部翼环,内部还有档圈之类的,法兰内丝,有成套卖的,也可自己加工,用于有减震需要的管路,如和水泵连接的管道穿墙时。
主要是使用的地方不一样,柔性防水套管主要用在人防墙,水池等要求很高的地方,刚性防水套管一般用在地下室等管道需穿管道地位置。自地下入户的管道 穿建筑物外墙时需加装刚性防水套管。穿墙(池、板等)的套管。分为刚性和柔性两种。安装完毕后允许有变形量的---柔性;不允许有变形量的--刚性。
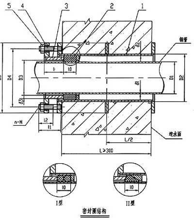
钢制柔性防水套管说明:
1、本图尺寸均以毫米来计。
2、柔性防水套管一般穿过墙壁之处受有振动或有严密防水要求的构筑物。
3、套管部分加工完成后,在其外壁均刷底漆一遍(底漆包括樟丹或冷底子油)。外层防腐由设计决定。
4、套管穿墙之墙壁,如遇非混凝土墙壁时应改用混凝土墙壁,其浇注混凝土范围应比翼环直径( D6 )大 200mm ,而且必须将套管浇固与墙内。
5、穿管处之混凝土墙厚应不小于 300mm 否则应使墙壁一边加厚或两边加厚。加厚部分的直径最小应比翼环直径( D6 ) 200mm
6、套管的材料重量是按墙厚 L 值为 300mm 应另行计算。
7、套管部件焊接材料,用 A3 材料制作, T42 焊接。
A型钢制柔性防水套管
说明:
1、当迎水面为腐蚀性介质时,可采用封堵材料将缝隙封堵。
2、套管穿墙处如遇非混凝土墙壁时,应局部改用混凝土墙壁,其浇注范围应比翼环直径(D5)大200,而且必须将套管一次浇固于墙内。
3、穿管处混凝土墙厚应不小于300,否则应使墙壁一边加厚或两边加厚,加厚部分的直径至少为D5+200。
4、套管的重量以L=300计算,如墙厚大于300时,应另行计算。
B型钢制柔性防水套管

说明:
1、柔性填料材料:沥青麻丝、聚苯乙烯板、聚氯乙烯泡沫塑料板。
2、密封膏:聚硫密封膏、聚胺脂密封膏。
3、套管穿墙处如遇非混凝土墙壁时,应局部改用混凝土墙壁,其浇注范围应比翼环直径(D5)大200,而且必须将套管一次浇固于墙内。
4、穿管处混凝土墙厚应不小于300,否则应使墙壁一边加厚或两边加厚,加厚部分的直径至少为D5+200。
5、套管的重量以L=300计算,如墙厚大于300时,应另行计算。
柔性防水套管和刚性防水套管技术参数
注:订货时注明管子外径,大于DN1400、墙厚大于或小于300mm的产品可订制加工。
名 称
S312
02S404
S312
翼环直径
翼环直径
长度(=墙厚)
200
200
220
200
235
200
255
200
290
200
315
200
375
200
435
200
495
200
545
200
600
200
650
200
705
200
820
200
910
200
1020
200
1120
200
1220
200
1200
1423
200
1400
1623
200
上一篇:【[防水套管系列]】
下一篇:【两侧防护柔性密闭套管】
关键字:橡胶接头、防水套管、传力接头、伸缩接头、橡胶止回阀、波纹补偿器
巩义市昌旺给排水材料厂 版权所有 地 址:河南省洛阳市西工区唐宫西路44号置隆花园10楼2单元1801室 管理入口
豫ICP备16036159号-4
电 话:15037198065 (微信同号) Q Q:2914005008
邮 箱:2914005008@qq.com 2914005008(在线洽谈)
